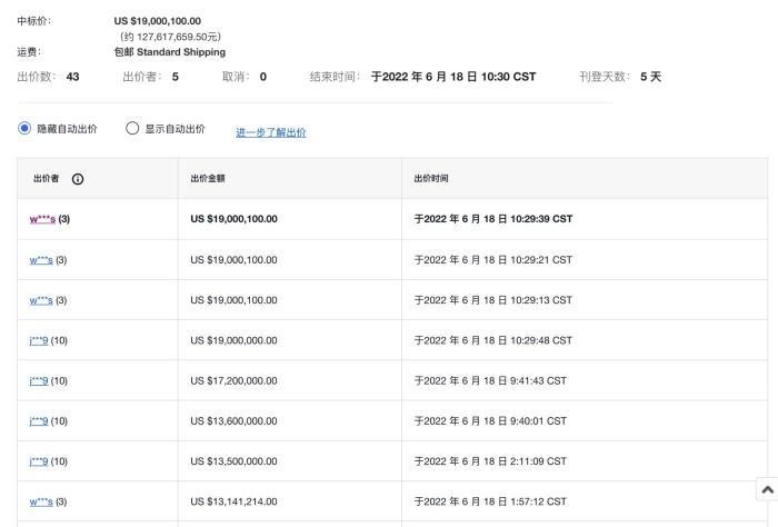
美东时间17日22:30,经过5天43轮出价,2022年巴菲特午餐在eBay网站以19000100美元(约合人民币1.28亿元)成交,竞拍成功者是一位以w字母开头的eBay买家,该金额远远超过孙宇晨2019年457万美元的出价纪录。


图片来源:eBay官网。
拍卖进入尾声阶段,以j和w开头的两名买家展开多轮疯狂的角逐,j开头的买家一度大幅领先,不断更新出价。不过,在最后一分钟,结果出现惊人反转。以w开头的买家最终胜出。目前,买家的个人信息暂未被公开。
据格莱德基金会官网信息,这是巴菲特午餐最后一次进行拍卖。今年的拍卖获胜者最多可以带七位客人在曼哈顿Smith&Wollensky牛排餐厅与巴菲特共进午餐。
曾有4名中国人中标
按照惯例,午餐期间,中标者可以任选话题,但不能打探巴菲特的下一项投资。2007年得标者之一蓝宝石基金CEO斯皮尔说,与巴菲特共进午餐改变了他的一生。
回忆过去20年的就餐经历,巴菲特曾表示,自己遇到很多来自全世界的有趣味的人。
在慈善午餐上,巴菲特还曾遇到了一位自己后来的得力干将。对冲基金经理 Ted Weschler(特德·韦施勒)在 2010 年和2011年的竞标中都得到了与巴菲特共进午餐的机会。两次午餐后,韦施勒在2012年进入了巴菲特的伯克希尔哈撒韦公司,负责这家公司超过千亿美元的股票、债券和其他投资。
抛开匿名人员无法确定外,历史上已知共有4位中国中标者。
2006年,步步高创始人段永平以62.01万美元的高价拍下了与巴菲特共进午餐的机会,成为第一位与巴菲特共进午餐的华人,而对于这顿昂贵的午餐,段永平回答:“Just for fun(只为了好玩)。”那次跟随段永平一起赴宴的还有一名叫黄峥的年轻人,他第二年就从谷歌离职,投身互联网创业热潮中,成就了后来的拼多多财富“神话”。
2008年,中国投资人赵丹阳以211万美元中标。赵丹阳曾说,自己与巴菲特在餐桌上谈论的话题广泛,包括通货膨胀、美元汇率、投资心得、公司治理等。赵丹阳用“太值了”来形容这顿211万美元换来的共餐机会。
曾两次与巴菲特进餐的段永平(第二次系与好友赵丹阳同去)还表示,巴菲特在用餐时所谈论的话题,大多围绕价值投资理念等内容。段永平近十余年来在投资界风生水起,被外界视为巴菲特在中国的信徒。
2015年,天神娱乐董事长朱晔以234万美元的价格拍下巴菲特午餐,并于饭局后对外界宣布,巴菲特十分看好他的公司。随后半年内,天神娱乐股价一度从60多元涨到125元。但在2018年,天神娱乐就出现了巨额亏损。如今被列为失信被执行人的朱晔,深陷债务泥潭。
2019年5月,币圈人士孙宇晨以456.79万美元的成交价中标。但到了7月,孙宇晨突然表示因突发肾结石要在医院接受治疗,要取消与巴菲特的午餐会面。之后他又在微博称为自己过度营销,热衷炒作的行为深感愧疚。几个月后,孙宇晨又突然在推特发文,表示已在一家私人乡村俱乐部与巴菲特共进晚餐。
来源 中新财经